This site is not affiliated with AGCO Inc., Duluth GA., Allis-Chalmers Co., Milwaukee, WI., or any surviving or related corporate entity. All trademarks remain the property of their respective owners. All information presented herein should be considered the result of an un-moderated public forum with no responsibility for its accuracy or usability assumed by the users and sponsors of this site or any corporate entity.
The Forum Parts and Services Unofficial Allis Store Tractor Shows Serial Numbers History
Forum Home Forum Home > Allis Chalmers > Farm Equipment
  New Posts New Posts
  FAQ FAQ  Forum Search   Events   Register Register  Login Login


WD45- Headlights Not Working??

 Post Reply Post Reply
Author
Message
ssccrab View Drop Down
Bronze Level
Bronze Level
Avatar

Joined: 12 Jan 2020
Location: KCK
Points: 52
Post Options Post Options   Thanks (0) Thanks(0)   Quote ssccrab Quote  Post ReplyReply Direct Link To This Post Topic: WD45- Headlights Not Working??
    Posted: 23 Mar 2020 at 9:09pm
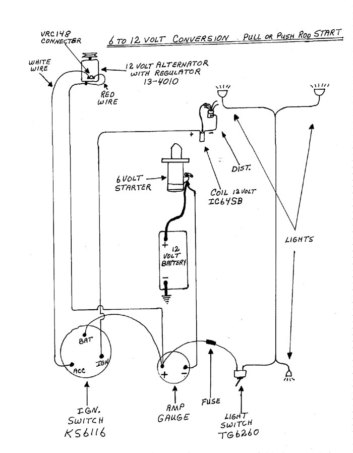
The previous owner of my 1955 WD45 was in the process of converting it over to 12V. I finished it using the schematic below, which I found here:

 http://dueyschutter.freeservers.com/photo3.html

Everything fires normally and the tractor runs. I have the exact switch from NAPA as recommended on that page. Bulbs have been changed out to 1156 LED's and I have the light switch and inline fuse wired exactly as the schematic says, but the lights refuse to work. The previous bulbs which were 1195's and not blown also refused to work. When I clip my test light's ground to the negative battery post, and touch the needle to the output post on the light switch, the test light comes on when I flip the switch on. This tells me there's some sort of grounding issue? But I have no idea how to route a ground back to the switch without blowing something. Would appreciate your knowledge on this. Thanks!!




Edited by ssccrab - 23 Mar 2020 at 9:10pm
Back to Top
Sponsored Links


Back to Top
Sugarmaker View Drop Down
Orange Level
Orange Level
Avatar

Joined: 12 Jul 2013
Location: Albion PA
Points: 8646
Post Options Post Options   Thanks (0) Thanks(0)   Quote Sugarmaker Quote  Post ReplyReply Direct Link To This Post Posted: 23 Mar 2020 at 9:37pm
Take out the bulb and make sure it works, Then check the grounds. If the tractor has fresh paint it may be as simple as shining up the light support rods where the thumb screw touches. The rear light can be tricky to get a ground also.
By the way I do not like the NAPA switches. I have tried 4 of them. I am sorry, I usually dont downgrade items, but these have failed me several times. I have changed most of mine over to the Sierra marine grade (plastic) and have had better success. Your switch may work fine for a long time. I dont think that is your problem. 
Maybe try running a test ground wire from your battery out to each light, rub a spot on the light housing and try the direct ground wire. 
Hope this helps a little.
 Regards,
 Chris
D17 1958 (NFE), WD45 1954 (NFE), WD 1952 (NFE), WD 1950 (WFE), Allis F-40 forklift, Allis CA, Allis D14, Ford Jubilee, Many IH Cub Cadets, 32 Ford Dump, 65 Comet.
Back to Top
CTuckerNWIL View Drop Down
Orange Level
Orange Level
Avatar

Joined: 11 Sep 2009
Location: NW Illinois
Points: 22825
Post Options Post Options   Thanks (0) Thanks(0)   Quote CTuckerNWIL Quote  Post ReplyReply Direct Link To This Post Posted: 23 Mar 2020 at 9:56pm
Take the socket out of the lamp housing and solder a wire to the ground side of the socket. Run it back along side the hot wire to the mounting bracket of the light tube, and ground it to the bracket mount which should be grounded to the bell housing and engine.
http://www.ae-ta.com
Lena 1935 WC12xxx, Willie 1951 CA6xx Dad bought new, 1954WD45 PS, 1960 D17 NF
Back to Top
ssccrab View Drop Down
Bronze Level
Bronze Level
Avatar

Joined: 12 Jan 2020
Location: KCK
Points: 52
Post Options Post Options   Thanks (0) Thanks(0)   Quote ssccrab Quote  Post ReplyReply Direct Link To This Post Posted: 23 Mar 2020 at 10:30pm
Thank you fellas! I tried removing one of the sockets earlier to inspect it but had no luck. Is there a certain way to pop those out?
Back to Top
CTuckerNWIL View Drop Down
Orange Level
Orange Level
Avatar

Joined: 11 Sep 2009
Location: NW Illinois
Points: 22825
Post Options Post Options   Thanks (0) Thanks(0)   Quote CTuckerNWIL Quote  Post ReplyReply Direct Link To This Post Posted: 23 Mar 2020 at 11:05pm
If the socket is connected to the reflector just take the reflector out and you should be able to clean up the ground connection or solder to the side of the socket for a ground wire.
 It's been over 10 years since I worked on the WC headlights. I don't have a ground wire, but do have  one headlight that works when it wants to Ouch That's why I would say add the ground wire now.


Edited by CTuckerNWIL - 23 Mar 2020 at 11:07pm
http://www.ae-ta.com
Lena 1935 WC12xxx, Willie 1951 CA6xx Dad bought new, 1954WD45 PS, 1960 D17 NF
Back to Top
Alberta Phil View Drop Down
Orange Level
Orange Level
Avatar

Joined: 13 Sep 2009
Location: Alberta, Canada
Points: 3970
Post Options Post Options   Thanks (0) Thanks(0)   Quote Alberta Phil Quote  Post ReplyReply Direct Link To This Post Posted: 24 Mar 2020 at 10:11am
The ground is rather iffy on those lights. The reflector contacts a little brass tab which is riveted to the headlight shell. Old age, corrosion and rust all take their toll and the ground is no longer continuous.  Best is solder a wire to the bulb socket as has been recommended and attach to a good ground point.  If using the thumb screw as the ground, make sure it's not rusty and makes good contact with clean threads and the light  tube.
Back to Top
ssccrab View Drop Down
Bronze Level
Bronze Level
Avatar

Joined: 12 Jan 2020
Location: KCK
Points: 52
Post Options Post Options   Thanks (0) Thanks(0)   Quote ssccrab Quote  Post ReplyReply Direct Link To This Post Posted: 24 Mar 2020 at 12:59pm
Took your all's advice and rewired these guys completely today. New contacts to the bulbs, new grounds on the sockets. Works perfectly! Thank you all for taking the time to offer your advice here =D






Back to Top
CTuckerNWIL View Drop Down
Orange Level
Orange Level
Avatar

Joined: 11 Sep 2009
Location: NW Illinois
Points: 22825
Post Options Post Options   Thanks (0) Thanks(0)   Quote CTuckerNWIL Quote  Post ReplyReply Direct Link To This Post Posted: 24 Mar 2020 at 3:22pm
Thumbs Up Thumbs Up Glad it worked out and you could post pictures.
 That's what I might have to eventually do with the WC. I don't use it for anything but show and play, so it's way down on the priority list.
http://www.ae-ta.com
Lena 1935 WC12xxx, Willie 1951 CA6xx Dad bought new, 1954WD45 PS, 1960 D17 NF
Back to Top
Sugarmaker View Drop Down
Orange Level
Orange Level
Avatar

Joined: 12 Jul 2013
Location: Albion PA
Points: 8646
Post Options Post Options   Thanks (0) Thanks(0)   Quote Sugarmaker Quote  Post ReplyReply Direct Link To This Post Posted: 25 Mar 2020 at 11:27am
scccrab,
 Nice work on the lights! I have a light fetish. They do come in handy for real work in the field and or loading them after a antique tractor pull too. 
Thanks for sharing the pictures too!
Those 45's are the best!:)
Regards,
 Chris


Edited by Sugarmaker - 25 Mar 2020 at 11:33am
D17 1958 (NFE), WD45 1954 (NFE), WD 1952 (NFE), WD 1950 (WFE), Allis F-40 forklift, Allis CA, Allis D14, Ford Jubilee, Many IH Cub Cadets, 32 Ford Dump, 65 Comet.
Back to Top
Dave(inMA) View Drop Down
Orange Level
Orange Level
Avatar

Joined: 12 Sep 2009
Location: Grafton, MA
Points: 2399
Post Options Post Options   Thanks (0) Thanks(0)   Quote Dave(inMA) Quote  Post ReplyReply Direct Link To This Post Posted: 25 Mar 2020 at 12:52pm
Excellent! Amazing what sound wiring will accomplish. I like your approach.

Dave
WC, CA, D14, WD45
Back to Top
Dakota Dave View Drop Down
Orange Level
Orange Level
Avatar

Joined: 12 Sep 2009
Location: ND
Points: 3974
Post Options Post Options   Thanks (0) Thanks(0)   Quote Dakota Dave Quote  Post ReplyReply Direct Link To This Post Posted: 26 Mar 2020 at 5:00pm
On mine I bent the little brass tab" and when I got the lights where I wanted them had to twist the assebly with the thumbscrew partly loose to scrape the paint enough to to get a ground. But since switching to 12 volts 15 years ago I haven't touched them and they still work great. If I ever open them up against Ill do like you did that's a better solution.
Back to Top
ssccrab View Drop Down
Bronze Level
Bronze Level
Avatar

Joined: 12 Jan 2020
Location: KCK
Points: 52
Post Options Post Options   Thanks (0) Thanks(0)   Quote ssccrab Quote  Post ReplyReply Direct Link To This Post Posted: 28 Mar 2020 at 1:49pm
Thanks guys! Yeah, one side had the brass tab, that I assume was no longer making a proper ground. The other side had no tab at all. And yess, it's such a simple system to rewire once you just take a look at it. Eventually I'll get a rear light on it. It currently doesn't have one. Thinking one of those smaller LED work lights. I know the little bullet light is "stock" to the tractor, but I'd prefer a bright rear-facing light with its own switch.

Edited by ssccrab - 28 Mar 2020 at 1:50pm
Back to Top
Sugarmaker View Drop Down
Orange Level
Orange Level
Avatar

Joined: 12 Jul 2013
Location: Albion PA
Points: 8646
Post Options Post Options   Thanks (0) Thanks(0)   Quote Sugarmaker Quote  Post ReplyReply Direct Link To This Post Posted: 28 Mar 2020 at 6:50pm
The egg light (original red lens, rear, left fender, light) is the "Crown Jewel" when you get one of these tractors done. Always my goal to get these working! They are just so cute!:)

This one I did in black to match the headlight shells:


Regards,
 Chris


Edited by Sugarmaker - 28 Mar 2020 at 6:53pm
D17 1958 (NFE), WD45 1954 (NFE), WD 1952 (NFE), WD 1950 (WFE), Allis F-40 forklift, Allis CA, Allis D14, Ford Jubilee, Many IH Cub Cadets, 32 Ford Dump, 65 Comet.
Back to Top
 Post Reply Post Reply
  Share Topic   

Forum Jump Forum Permissions View Drop Down

Forum Software by Web Wiz Forums® version 11.10
Copyright ©2001-2017 Web Wiz Ltd.

This page was generated in 0.121 seconds.


Help Support the
Unofficial Allis Forum